Elektronická umývadlová armatúra Brenta so zmiešavačom, pre funkčné box pod omietku
účel použitia
- Na odber pitnej vody
- Pre verejný a zmiešaného sektora
- K montáži do inštalačných prvkov Geberit pre umývadlo, nástenná armatúra s funkčným boxom pod omietku
- Pre pripojenie studenej a teplej vody (len pri vyhotovení so zmiešavačom)
- Pre pripojenie studenej a zmiešané vody (len pri vyhotovení bez zmiešavača)
- Na použitie s nerezovými drezy
- Prevedenie so zmiešavačom nie je určené pre prietokový ohrievač
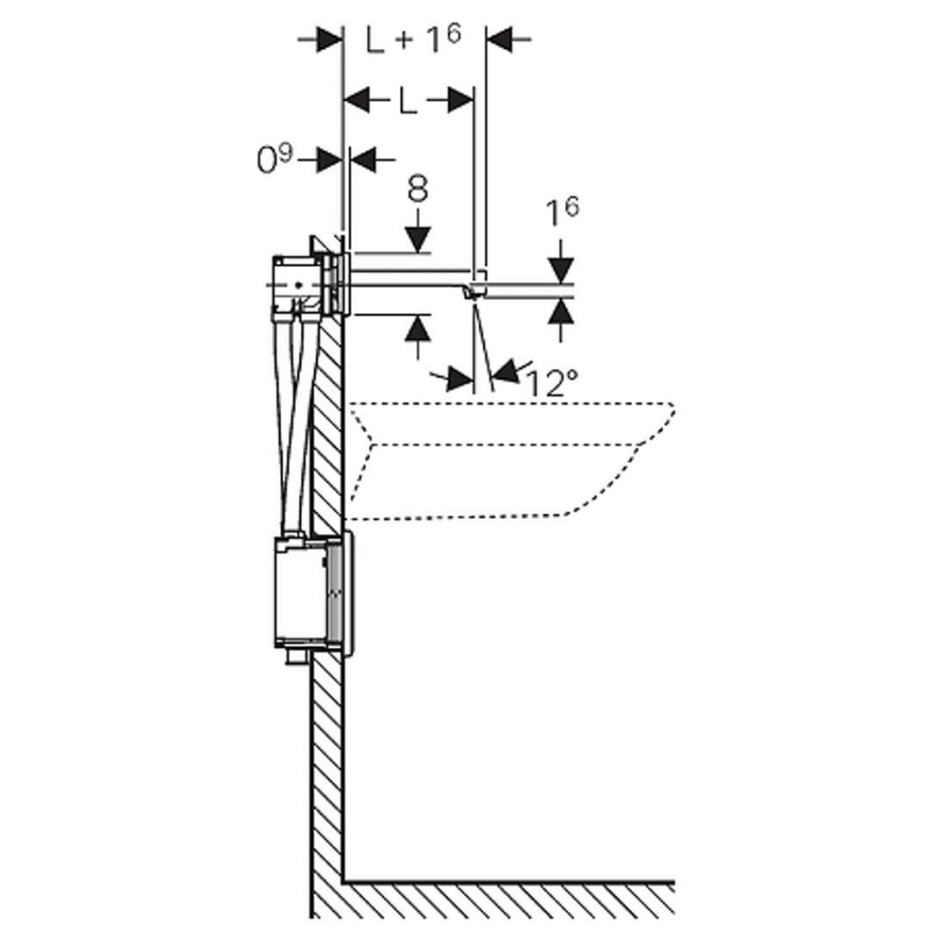
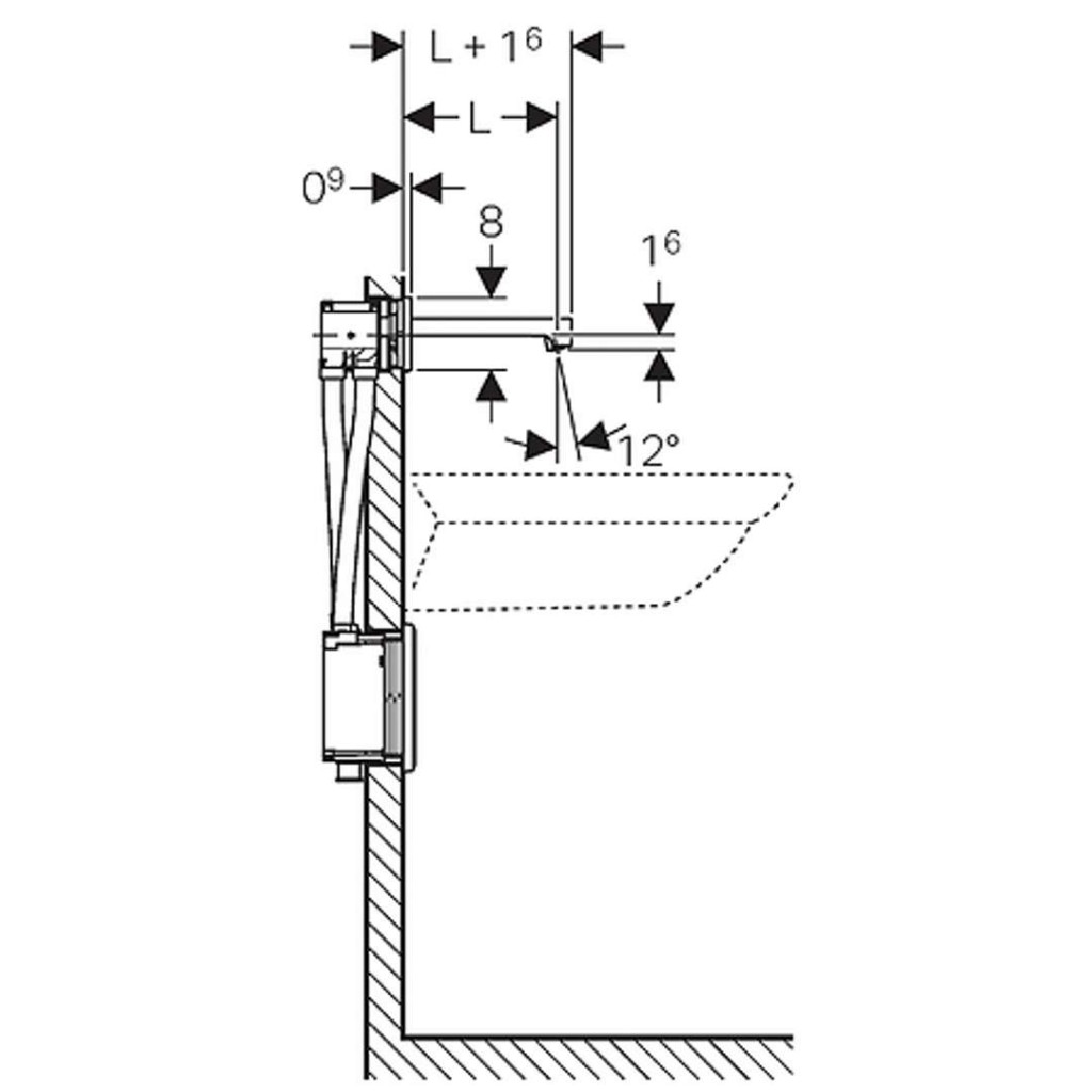
- Pre hrúbky opláštenia 10-50 mm
vlastnosti
- Skupina armatúr Aj podľa DIN 4109
- Automatické spustenie vody
- Infračervené čidlo pre zaznamenanie užívateľa
- Infračervený senzor samonastaviteľný
- Odolný proti vandalom
- Obmedzenie prietoku usmerňovačom prúdu vody
- Nastavenie teploty cez zmiešavač (iba pri prevedení so zmiešavačom)
- Voda nastaviteľná ako nie iba teplá alebo nie iba studená (iba pri prevedení so zmiešavačom)
- Napájanie pomocou sieťového zdroja
- Ekonomický režim prevádzky nastaviteľný
- Úspora vody vďaka dvojprúdové snímacia technike s rýchlou reakciou
- Funkcia je možné servisným diaľkovým ovládaním nastaviť a vypytovať
- Program úspora vody nastaviteľný
- Program intervalu prepláchnutie nastaviteľný
- Trvalé prepláchnutie individuálne nastaviteľné
- Ovádání spúšťanie deaktivovateľná pomocou ovládania pre údržbu Geberit
- Rôzne funkcie ručne nastaviteľné
- So zabudovaným spätným ventilom
- Funkčná jednotka so zabudovanými košíkovými filtre
technické údaje
- Druh ochrany: IPX4
- Menovité napätie: 110-240 V AC
- Sieťová frekvencia: 50-60 Hz
- Prevádzkové napätie: 4.5 V DC
- Príkon: 0.1 W
- Prevádzkový tlak: 50-1000 kPa
- Rozdiel tlaku studená / teplá voda: ≤ 150 kPa
- Maximálny skúšobný tlak vody: 1600 kPa
- Maximálny skúšobný tlak vzduchu / inertného plynu: 300 kPa
- Teplota okolia: 1-40 ° C
- Teplota skladovania: -20 - +70 ° C
- Maximálna teplota vody: 60 ° C
- Maximálna teplota vody, krátkodobá: 90 ° C
- Prietok pri tlaku 3 bar: 5 l / min
- Výpočtový prietok: 0.07 l / s
- Minimálny pretlak pre výpočtový prietok: 50 kPa
- Interval preplachu, rozsah nastavenia: 1-168 h
- Interval spláchnutie, nastavenie vo výrobe: 24 h
- Interval preplachu, rozsah nastavenia: 5-200 s
- Interval spláchnutie, nastavenie vo výrobe: 5 s
- Materiál: mosadz pochrómovaná / plast
obsah dodávky
- umývadlová armatúra
- Infračervený senzor s prípojným káblom
- riadiaca elektronika
- funkčná jednotka
- sieťový zdroj
- Kľúč pre usmerňovač prúdu vody
- upevňovací materiál
(GT)
Parametry
| Kód | 116.292.21.1 |
|---|
Na balenie si zakladáme! Prezrite si, ako pripravujeme a zabalíme Vašu objednávku.
