Sprchová podlahový vpust
- K montáži vo vnútri budov
- K odvodnenie spŕch v úrovni podlahy
- Vhodný pre bezbariérové stavby
- Pre združené izolácie
- Pre výšku mazaniny ≥ 90 mm u vtoku
- U veľkostí obkladacích dlaždíc dbajte na prekrytie mazaniny základného telesa
- Materiál a hrúbku mazaniny nechajte definovať zo strany obkladačov
- Podlahové dlaždice z prírodného kameňa môžu v rozsahu sprchy zmeniť farbu
vlastnosti
- Kontrola kvality podľa EN 1253-3
- Určené pre hrúbky obkladu na podlahu 2-40 mm
- Integrovaná tesniace netkaná textília
- Tesniace netkaná textília s obvodovým presahom 10 cm, pre napojenie tesniacich systémov
- Rošt z nerezovej ocele
- Rošt nastaviteľný výškovo, sklonom i vyosením
- Základné teleso z EPS pre prerušenie prenosu hluku a umiestnenia zápachové uzávierky
- Zaťažiteľnosť trieda K 3 (3 kN)
- Odvod vody nad združenú izoláciou
technická špecifikácia
- Prietoková kapacita: 0.8 l / s
- Výška vodného uzáveru: 50 mm
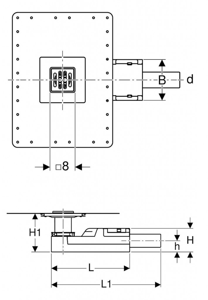
- rozmery: DN 50, d Ø 50 mm, L = 300 mm, L1 = 358 mm
- rozmery: B = 130 mm, H = 90 mm, H1 = 90-220 mm, h 42 mm
obsah dodávky
- Ochranný kryt s referenčnou hranou
- Nástavec pre tenkú vrstvu
- hrebeňové sitko
- Rámček roštu s vyrovnávacím krúžkom
- rošt
- Zápachová uzávierka z PE-HD
- upevňovací materiál
- Dištančné doštička, hrúbka 2 cm
Možno objednať dodatočne
- Dizajnový rošt Geberit
(GT)
Parametry
| Kód | 154.050.00.1 |
|---|
Na balenie si zakladáme! Prezrite si, ako pripravujeme a zabalíme Vašu objednávku.
