Zberný profil pre sprchový odtok v stene
- k odvedenie vody k odtoku v stene Geberit pre sprchu
- k osadenie do tenkej vrstvy malty
vlastnosti
- ľubovoľne zkrátitelný
- jednoduchá údržba a čistenie
- materiál: nerezová oceľ, kartáčovaná
- 2 zásuvná viečka
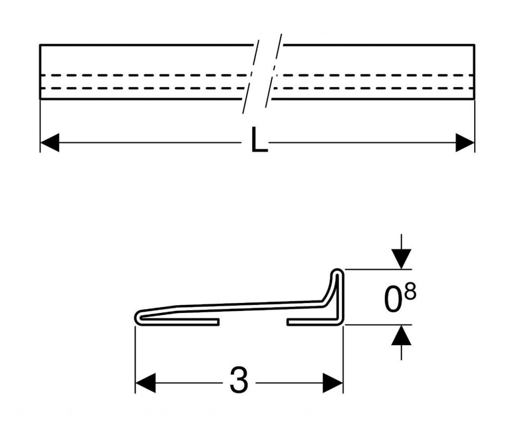
- dĺžka: 1500 mm
(GT)
Parametry
| Kód | 154.341.FW.1 |
|---|
Na balenie si zakladáme! Prezrite si, ako pripravujeme a zabalíme Vašu objednávku.
