lisovaný nerezový kryt s elektronikou, montážna plastová krabica s elektromagnetickým ventilom, guľovým ventilom a mosadzným skrutkovaním, integrovaný napájací zdroj
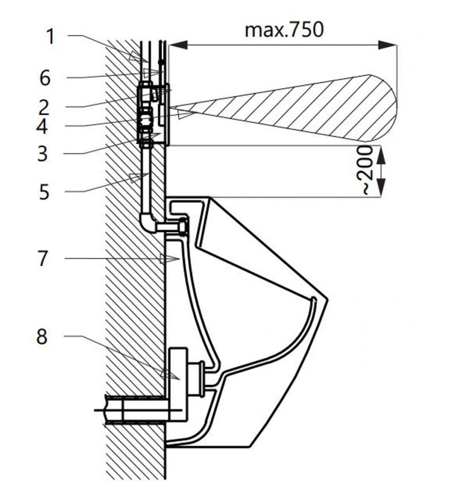
reaguje na prítomnosť osoby pred pisoárom vo vzdialenosti max. 0,7 m od snímača po dobu dlhšiu ako 7,5 s
k spláchnutiu dôjde po vystúpení osoby zo snímanej zóny
doba splachovania je nastaviteľná od 0,5 do 15,5 s
nastavenie doby splachovania a možnosť vypnutia snímača pomocou diaľkového ovládania SLD 03
funkcia vypnutia senzoru
samočinné spláchnutie po 24 hodinách od posledného zopnutia ventilu
Rozmer nerezového krytu: 170 x 170 x 10 mm
Rozmer montážnej krabice: cca 140 x 140 x 75 mm
Dosah: 0,3 - 0,7 m
Doporučený pracovný tlak: 0,1 - 0,6 MPa
Prietok: 12 l / min. (Inf. Údaj)
Vstup vody: vonkajší závit G 3/4 "
Výstup vody: vonkajší závit G 3/4 "
Napájacie napätie: 230V AC / 50Hz
(GT)
Parametry
| Kód | SLP 02NZ |
|---|
Na balenie si zakladáme! Prezrite si, ako pripravujeme a zabalíme Vašu objednávku.
