Elektronická umývadlová batéria s termostatickým zmiešavačom, pre funkčný box pod omietku
- farba matná čierna
- materiál pochrómovaná mosadz / plast
- na odber pitnej vody
- pre verejný a poloverejný sektor
- pre montáž do umývadla alebo panelov s umývadlom
- na montáž do inštalačných prvkov Geberit pre umývadlo, elektronická armatúra s funkčným boxom pod omietku
- na montáž do súprav pre hrubú montáž Geberit pre elektronické umývadlové armatúry, stojankové, s funkčným boxom pod omietku
- na pripojenie studenej a teplej vody
- na použitie s nerezovými drezami
- model so zmiešavačom alebo termostatickým zmiešavačom nie je vhodný pre prietokový ohrievač
- napájanie zo siete
- skupina armatúr I podľa DIN 4109
- automatické spustenie vody
- samonastaviteľný infračervený snímač pre zaznamenanie užívateľa
- systém antivandal - odolný proti vandalom
- nanesený povrch easy-to-clean
- obmedzenie prietoku usmerňovačom prúdu vody
- nastavenie teploty cez zmiešavač
- voda nastaviteľná ako nie iba teplá alebo nie iba studená
- termostat podľa EN 1111
- ochrana proti obareniu obmedzením teploty na 42°C
- možnosť tepelnej dezinfekcie podľa DVGW W 551
- ekonomický režim prevádzky nastaviteľný
- úspora vody vďaka dvojprúdovej snímacej technike s rýchlou reakciou
- funkcie je možné servisným diaľkovým ovládaním nastaviť a pýtať
- program úspora vody nastaviteľný
- program intervalu prepláchnutia nastaviteľný
- trvalé prepláchnutie individuálne nastaviteľné
- ovládanie spúšťania deaktivovateľné pomocou ovládania pre údržbu Geberit
- rôzne funkcie ručne nastaviteľné
- so zabudovaným spätným ventilom
- funkčná jednotka so zabudovanými košíkovými filtrami
Technické údaje
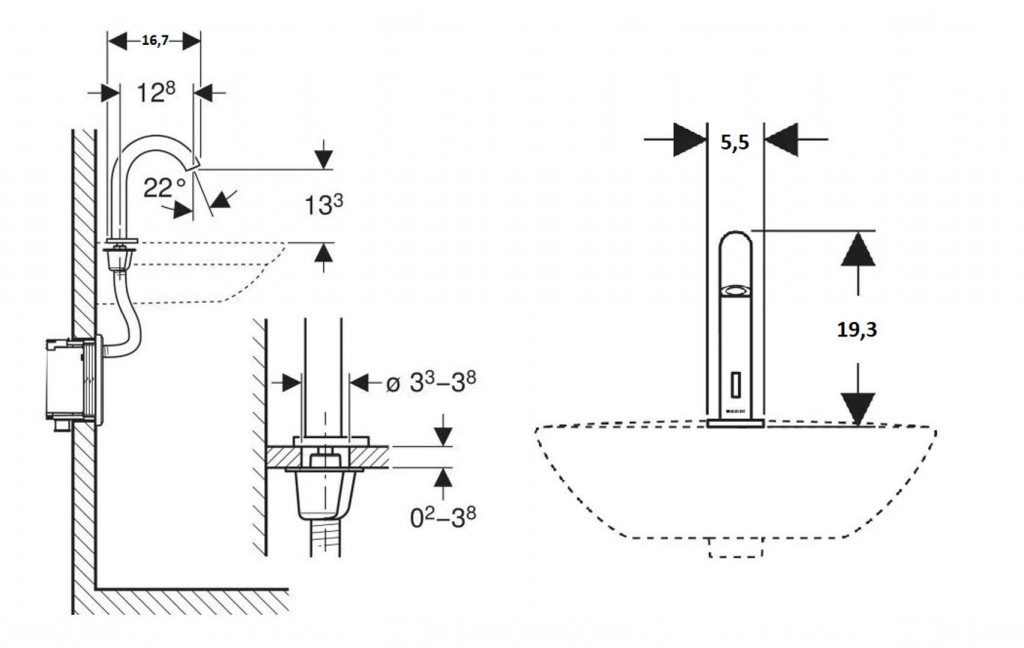
- výška batérie 193 mm
- dĺžka výtoku 167 mm
- komfortná zóna 133 mm
- druh ochrany IPX4
- menovité napätie 110 - 240 V AC
- sieťová frekvencia 50 - 60 Hz
- prevádzkové napätie 4,5 V DC
- príkon 0,1 W
- prevádzkový tlak 50 - 1000 kPa
- odporúčaný prevádzkový tlak s termostatickým zmiešavačom 0,5 - 5 bar
- odporúčaný prevádzkový tlak s termostatickým zmiešavačom 50 - 500 kPa
- rozdiel tlaku studená/teplá voda ≤ 150 kPa
- maximálny skúšobný tlak vody 1600 kPa
- maximálny skúšobný tlak vzduchu / inertného plynu 300 kPa
- teplota okolia 1 – 40 °C
- teplota skladovania -20 – +70 °C
- teplota vody - rozsah nastavenia s termostatickým zmiešavačom 20 - 42 °C
- maximálna teplota vody 60 °C
- maximálna teplota vody, krátkodobá 90 °C
- prietok pri tlaku 3 bar 5 l/min
- výpočtový prietok 0,07 l/s
- minimálny pretlak pre výpočtový prietok 50 kPa
- interval preplachu, rozsah nastavenia 1 - 168 h
- interval spláchnutia, nastavenie vo výrobe 24 h
- interval preplachu, rozsah nastavenia 5 - 200 s
- interval spláchnutia, nastavenie vo výrobe 5 s
Obsah dodávky
- umývadlová batéria s infračerveným senzorom a hadicou pre prívod vôd
- riadiaca elektronika
- funkčná jednotka
- sieťový zdroj
- kľúč pre usmerňovač prúdu vody
- upevňovací materiál
Prvok Geberit pre umývadlo alebo súprava na hrubú montáž k umývadlovej batérii a krycia doska nie sú súčasťou dodávky.
(GT)Parametry
| Kód | 116.187.14.1 |
|---|
Na balenie si zakladáme! Prezrite si, ako pripravujeme a zabalíme Vašu objednávku.
