Inštalačný prvok Duofix pre závesné WC, sa splachovacie nádržkou pod omietku Delta 12 cm
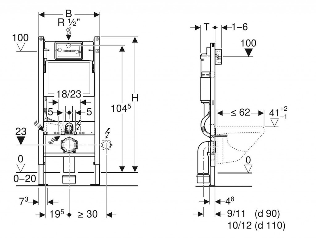
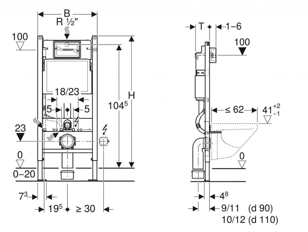
- stavebná výška: 112 cm (H)
- rozmery: B = 50 cm, T = 12 cm
účel použitia
- pre konštrukcie vykonávané suchým procesom
- na montáž do predstenových inštalácií čiastočne vysokých alebo vysokých na výšku miestnosti
- na montáž do inštalačných stien vysokých na výšku miestnosti
- pre závesná WC s pripojovacími rozmermi podľa EN 33: 2011
- pre závesná WC s vyložením do 62 cm
- pre 1 množstvo splachovanie, 2 množstvo splachovanie alebo splachovanie Start / Stop
- pre hrúbky podlahy 0-20 cm
vlastnosti
- samonosný rám s nanesenou práškovou farbou
- rám hore otvorený
- s vŕtanými otvormi Ø 9 mm pre upevnenie do drevenej konštrukcie
- s otvormi pre umiestnenie súpravy pre kotvenie do steny Geberit Duofix pre inštalačné prvky s hore otvoreným rámom
- rám pripravený pre podpery u WC keramik s malou opornou plochou
- hĺbka pätnej dosky vhodná na montáž do U profilov UW 50
- pripojovacie koleno na montáž bez náradia
- splachovacia nádržka pod omietku s ovládaním spredu
- splachovacia nádržka pod omietku s izoláciou proti orosovaniu
- u nastavenie z výroby je možné okamžité dodatočné spláchnutí
- prívod vody vzadu alebo hore uprostred
- vybavený rúrkovou chráničkou pre prívodné potrubie na pripojenie sprchovacích WC Geberit AquaClean
- s možnosťou upevnenia pre prívod elektriny
technické údaje
- maximálna teplota vody: 25 ° C
- splachovacie množstvo: 4 a 2 l (nastavenie vo výrobe)
- veľké splachovacie množstvo, rozsah nastavenia: 4 / 4,5 / 6 / 7,5 l
obsah dodávky
- rohový ventil R 1/2, vhodný pre MeplaFix, s adaptérovým krúžkom
- kryt pre hrubú montáž pre servisný otvor, z penového polystyrénu
- 2 nastaviteľné úchytky
- pripojovacia súprava pre WC, Ø 90 mm
- pripojovacie koleno 90 ° z PE-HD, Ø 90 mm
- podpery pozinkované
- podpery nastaviteľné 0-20 cm
- pätnej dosky z plastu
- prechodka z PE-HD, Ø 90/110 mm
- 2 ochranné zátky
- 2 závitové tyče M12
- upevňovací materiál
- bez ovládacieho tlačidla
- stavebné súprava pre predstenovú montáž nie je súčasťou balenia - je potrebné objednať samostatne
(GT)
Parametry
| Kód | 458.129.00.1 |
|---|
Na balenie si zakladáme! Prezrite si, ako pripravujeme a zabalíme Vašu objednávku.
