Elektronická umývadlová armatúra Brenta so zmiešavačom, pre funkčný box pod omietku
- Farba matná čierna
- Materiál mosadz pochrómovaná/plast
- Na odber pitnej vody
- Pre verejný a poloverejný sektor
- Na montáž do umývadla alebo panelov s umývadlom
- Na montáž do inštalačných prvkov Geberit pre umývadlo, stojanková armatúra s funkčným boxom pod omietku
- Na montáž do súprav pre hrubú montáž k umývadlovým armatúram Geberit, stojankové, s funkčným boxom pod omietku
- Na pripojenie studenej a teplej vody
- Na použitie s nerezovými drezami
- Prevedenie so zmiešavačom nie je určené pre prietokový ohrievač
- Skupina armatúr I podľa DIN 4109
- Automatické spustenie vody
- Samonastaviteľné infračervené čidlo pre zaznamenanie užívateľa
- Odolný proti vandalom
- Nanesená vrstva easy-to-clean
- Obmedzenie prietoku usmerňovačom prúdu vody
- Nastavenie teploty cez zmiešavač
- Voda nastaviteľná ako nie iba teplá alebo nie iba studená
- Napájanie pomocou sieťového zdroja
- Ekonomický režim prevádzky nastaviteľný
- Úspora vody vďaka dvojprúdovej snímacej technike s rýchlou reakciou
- Funkcie je možné servisným diaľkovým ovládaním nastaviť a pýtať
- Program úspora vody nastaviteľný
- Program intervalu prepláchnutia nastaviteľný
- Trvalé prepláchnutie individuálne nastaviteľné
- Ovládanie spúšťania deaktivovateľné pomocou ovládania pre údržbu Geberit
- Rôzne funkcie ručne nastaviteľné
- So zabudovaným spätným ventilom
- Funkčná jednotka so zabudovanými košíkovými filtrami
Technické údaje
- Druh ochrany: IPX4
- Menovité napätie: 110 - 240 V AC
- Sieťová frekvencia: 50 - 60 Hz
- Prevádzkové napätie: 4,5 V DC
- Príkon: 0,1 W
- Prevádzkový tlak: 50 - 1000 kPa
- Rozdiel tlaku studená/teplá voda: ≤ 150 kPa
- Maximálny skúšobný tlak vody: 1 600 kPa
- Maximálny skúšobný tlak vzduchu/inertného plynu: 300 kPa
- Teplota okolia: 1 – 40 °C
- Teplota skladovania: -20 – +70 °C
- Maximálna teplota vody: 60 °C
- Maximálna teplota vody, krátkodobá: 90 °C
- Prietok pri tlaku 3 bar: 5 l/min
- Výpočtový prietok: 0,07 l/s
- Minimálny pretlak pre výpočtový prietok: 50 kPa
- Interval preplachu, rozsah nastavenia: 1 - 168 h
- Interval spláchnutia, nastavenie vo výrobe: 24 h
- Interval preplachu, rozsah nastavenia: 5 - 200 s
- Interval spláchnutia, nastavenie vo výrobe: 5 s
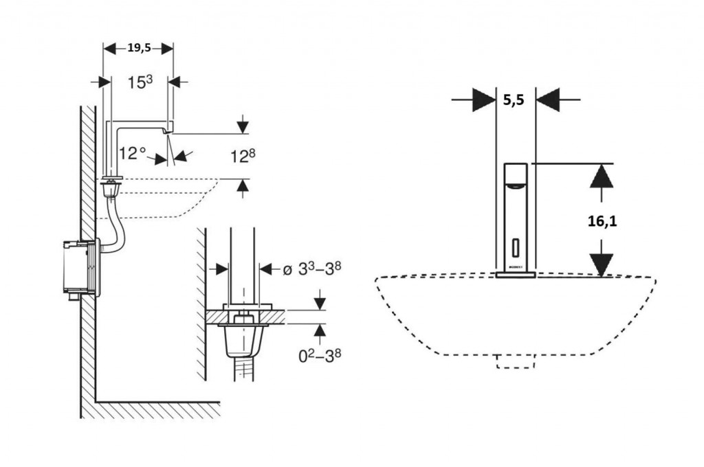
- Dĺžka výtoku: 195 mm
- Výška batérie: 161 mm
- Komfortná zóna: 128 mm
Obsah dodávky
- Umývadlová armatúra s infračerveným senzorom a hadicou pre prívod vody
- Riadiaca elektronika
- Funkčná jednotka
- Sieťový zdroj
- Kľúč pre usmerňovač prúdu vody
- Upevňovací materiál
Ilustračné foto
(GT)Parametry
| Kód | 116.192.14.1 |
|---|
Na balenie si zakladáme! Prezrite si, ako pripravujeme a zabalíme Vašu objednávku.
