Vstavaný mincový automat pre 1-3 sprchy, priame ovládanie
- hygienický preplach
- antivandalové prevedenie
- uzamykateľný
- možnosť získania štatistických informácií, diagnostika zariadenia
- materiál: nerezová oceľ AISI 304
- povrchová úprava: matná nerez
- nastavenie parametrov pomocou diaľkového ovládača SLD 05
nastaviteľné parametre
- nastavenie času sprchovanie podľa hodnoty vhodené mince alebo žetónu
- nastavenie dĺžky zopnutia oneskorenia
- možnosť aktivácie funkcie automatického preplachu
- nastavenie hodnoty času
- nastavenie aktuálneho kurzu eura
- nastavenie hodnoty žetónu
- nastavenie kontrastu displeja
- možnosť vypnutia niektoré z napojených spŕch
Špecifikácia použitia
- voľba sprchy užívateľom
- pred vhodením mince alebo žetónu si užívateľ stlačením tlačidla zvolí požadovanú sprchu, zobrazí sa číslo sprchy na displeji
- po vhodení mince alebo žetónu automat spustí vodu na niekoľko sekúnd ako indikáciu zvolenej sprchy
- po nastavenom oneskorení automat spustí vodu na zaplatený čas
- 30 s pred ukončením dodávky vody je užívateľ upozornený prerušením prúdu vody
- automat mince sčíta, ale nevracia
technické údaje
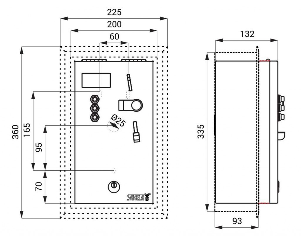
- rozmery otvoru v stene: 335 x 200 x 125 mm
- napájacie napätie: 24 V DC
- príkon: až 26 W
- druhy mincí: 5, 10, 20 a 50 Sk, 1 a 2 EUR, kovový žetón
- nastaviteľná doba oneskorenia zopnutia 0-255 s (štandardne 30 s)
- nastaviteľný čas za zaplatených 5 Sk: 0-255 s (štandardne 30 s)
obsah dodávky
- nerezový mincový automat s elektronikou, mincovníkom a boxom na mince, sada kľúčov (2 ks)
- montážny rám
- sada žetónov nie je súčasťou balenia
- diaľkové ovládanie a napájací zdroj nie je súčasťou dodávky
(GT)
Parametry
| Kód | SLZA 01LMZ |
|---|
Na balenie si zakladáme! Prezrite si, ako pripravujeme a zabalíme Vašu objednávku.
