DN 15
pre beztlakové ohrievače vody
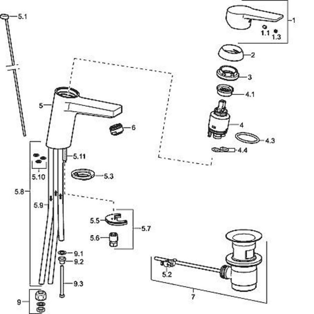
• odpadová súprava (kov)
• pripojenie medené trubičky
vyloženie: 123 mm
výtok: pevný, liaty
výška výtoku: 98 mm
Parametry
| Kód | 09031183 |
|---|
Na balenie si zakladáme! Prezrite si, ako pripravujeme a zabalíme Vašu objednávku.
