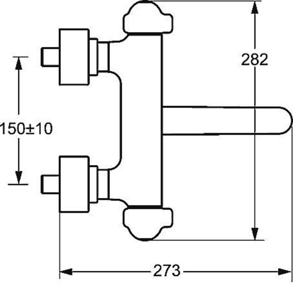
DN 15
s ochranou proti obareniu
prietokové množstvo: 12 l / min, merané pri 3 baroch hydraulického tlaku
• THERMO COOL - funkcie
• objektové rukoväte (kov)
• špeciálny termostatická rukoväť k termickej dezinfekciu
• nastaviteľná teplotná zarážka
• CARE perlátor M24 x 1, laminárne
• etážky zakryté, krytky 3x utesnené
• etážky, uzatvárateľné
• vhodný pre tepelnú dezinfekciu DVGW W 551
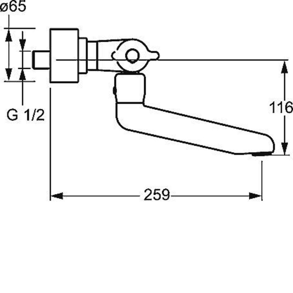
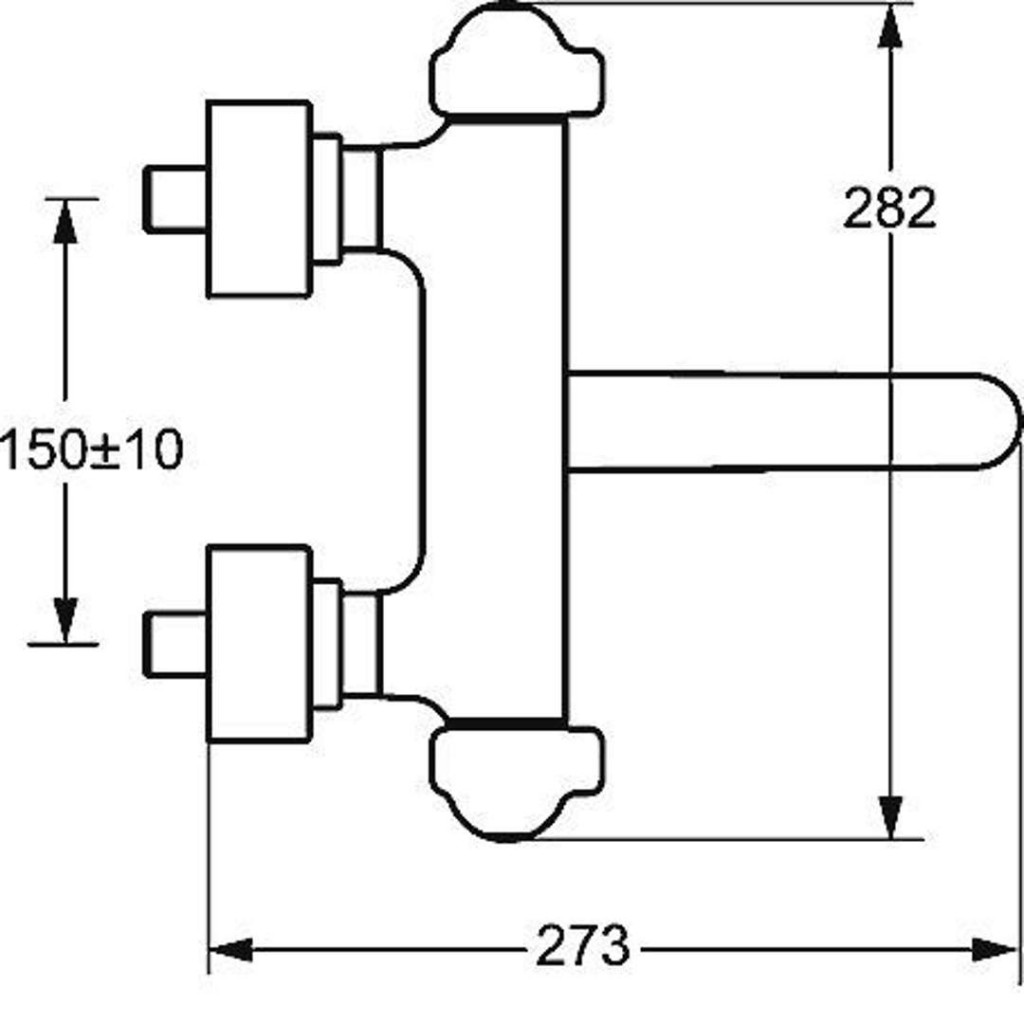
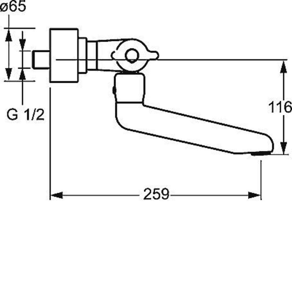
vyloženie: 259 mm
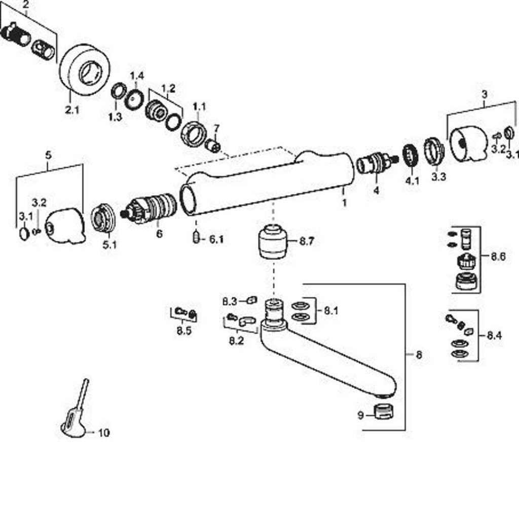
výtok: liaty, otočný o 120 ° (stav dodávky) alebo možnosť aretácie uprostred
DVGW: Certifikát NW-6509CR0103
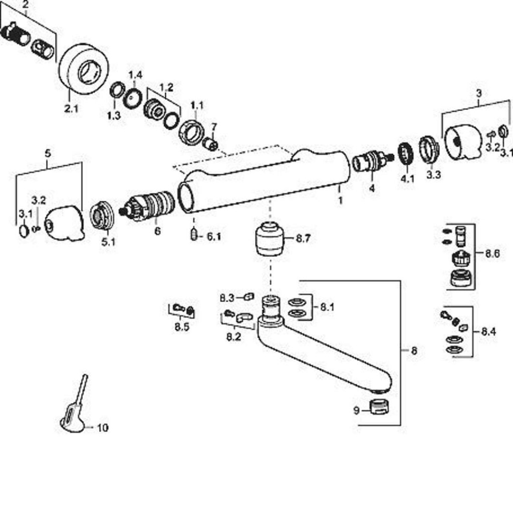
Parametry
| Kód | 08302201 |
|---|
Na balenie si zakladáme! Prezrite si, ako pripravujeme a zabalíme Vašu objednávku.
